Veuillez nous excuser pour le désagrément.
Effectuez une nouvelle recherche
PUISSANCE ET FORCE MAXIMALE DU WINCH
Pour calculer la force maximale du winch (F), il faut en premier lieu déterminer sa puissance (P) à l’aide des tableaux. En tenant compte d’une efficacité égale à 70% et d’une force maximale de 30 kg sur la manivelle, la force maximale se calcule comme suit : F = 20 x P (Kg), c’est-à-dire 20 fois la puissance du winch. Par exemple la force maximale d’un winch de puissance 40 sera : F = 20 x 40 = 800 Kg.

VITESSE D’ENROULEMENT
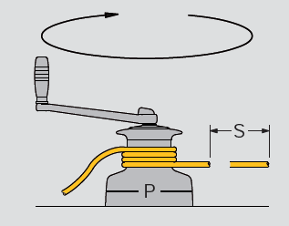
La vitesse d’enroulement correspond à la longueur de cordage enroulé sur la poupée en un tour de manivelle. Cette longueur est la réciproque de la puissance et peut se calculer comme suit: S = 1600 / P (mm). Par exemple, à un winch de puissance 40 correspond la vitesse S = 1600 / 40 = 40 mm par tour de manivelle. Les tableaux page suivante, indiquent les valeurs S1 et S2 correspondant aux vitesses rapide (1) et lente (2).

MONTAGE DES WINCHS
Le cordage doit arriver sur la poupée avec un angle d’inclinaison compris entre 2 et 10° par rapport à l’horizontale. Il est important sur les winchs 2 vitesses, que le pignon qui entraîne la poupée soit positionné sur l’axe perpendiculaire à l’axe de traction du cordage, comme illustré dans le schéma (90°).

SELF-TAILING AJUSTABLE À RESSORTS
Le Self-tailing à mâchoires est monté sur ressorts et s‘adapte automatiquement au cordage, même le plus fin. Afin d’éviter que les mâchoires ne libèrent automatiquement le bout en cas de trop forte traction, il est recommandé d’enrouler le cordage avec au moins trois à quatre tours autour de la poupée

ENTRETIEN
Nettoyez le winch en éliminant la graisse ancienne avec un solvant (gazole par ex.); graisser sans excès toutes les pièces mobiles à la graisse marine. La graisse assure une protection efficace contre la corrosion des pièces métalliques. Soyez spécialement attentif au graissage des vis et rondelles en acier inox. Pour une information complète, demandez le manuel utilisateur à votre revendeur Antal.
LUBRIFICATION
Antal utilise HYDROLUB (MOD. HDR) pour les winchs et la lubrification des pignons, cette graisse peut être fournie (en tube de 150 gr) sur demande.
PIÈCES DE RECHANGE
Antal propose un kit universel (MOD. XTKIT) pour tous ses winchs, composé de 4 cliquets et 4 ressorts de cliquets.
Effectuez une nouvelle recherche